
Rennkurbelwelle passend zu sämtlichen Piaggio Ciao, Si, Bravo und Boxer Mofas / Mopeds.
Diese fein gewuchtete Tuningkurbelwelle mit poliertem Pleuel und Wangen passt zu sämtlichen Zylindern mit 10 mm Kolbenbolzen. Aufgrund der längeren Einlass-Steuerzeiten eignet sich diese Tuningwelle bestens für Rennmofas.
Für die Montage muss zwischen der Racingkurbelwelle und dessen Hauptlagern je eine 16 x 0.5 mm Passscheibe eingelegt werden.
Achtung: Der Kurbelzapfen ist um 1 mm kürzer als bei der originalen Kurbelwelle, der Zündnocken muss dementsprechend zwingend um 1 mm abgenommen werden, damit das Schwungrad einwandfrei auf dem Konus sitzt. Alternativ kannst du auch den bereits abgedrehten Nocken aus dem Zubehör verwenden.
Markenprodukt des portugiesischen Herstellers Jasil unter der Marke Top Racing.
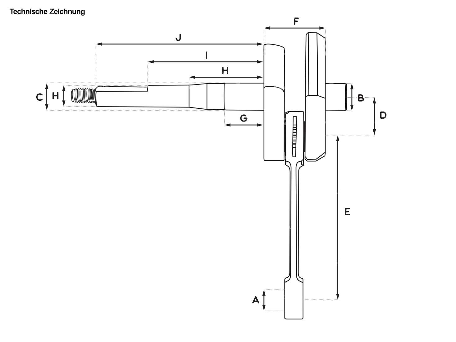
| Hersteller | Jasil |
| Material | Stahl |
| Wangenart | standard |
| Kurbelwellenhub | 43 mm |
| Ø Kupplungszapfen / Variozapfen | 12 mm |
| Ø Kolbenbolzen (B) | 10 mm |
| Pleuellänge Mitte-Mitte | 87 mm |
| Gewicht | 716 g |
| Gesamtlänge Kurbelzapfen zündseitig | 91.5 mm, 105 mm |
| Ø Kurbelwangen | 69.8 mm |
| Gewindelänge | 13.5 mm |
| Gewindeart | M8x1.25 (Standardgewinde) |
| Ø Pleuelauge | 13 mm |
| Lagersitz rechts | 15 mm |
| Ø Lagersitz (zündungsseitig) | 15 mm |
| Dimension Nadellager | 10 / 13 x 14.2 mm (axe 10) |
| Breite Kurbelwangen | 32.9 mm |
| Länge 1. Absatz | 21.5 mm |
| Länge 2. Absatz | 44 mm |
| Länge 3. Absatz | 64.9 mm |
| Ø 1. Absatz (kupplungsseitig) | 15 mm |
| Anwendungsbereich | Racing |
| Ø 2. Absatz (kupplungsseitig) | 14.4 mm |
| Ø 3. Absatz (kupplungsseitig) | 12 mm |
| Anzahl Gänge | 1 Stk. |
| Piaggio | Ciao - P , SC , PX , C24 Si Bravo / Super Bravo Boxer Grillo |
Zubehör & Verwandtes
swiing® ingenious Abzieher Schwungrad | Piaggio Ciao, SI, Bravo, Boxer
Durchmesser: 12 mm · Durchmesser: 24 mm · Schlüsselweite Abzug: 10 mm · Schlüsselweite Abzug: 17 mm · Hersteller: swiing® ingenious parts · Schlüsselweite Schraube: 19 mm · Material: Stahl · Oberfläche: geschwärzt · Oberfläche: verzinkt (blau) · Gesamtlänge: 100 mm · Gewindeart: MF12x1.5 (Feingewinde) · Gewindeart: MF17x1 (Feingewinde) · Anzahl Bestandteile: 3 Stk. · Anwendungsbereich: (De-) Montagewerkzeug
20,90 EUR
swiing® ingenious 6202 Lagerdummy 15/35/11 Aluminium
Lagerart: Rillenkugellager · Lagernummer: 6202 · Ø innen: 15 mm · Ø aussen: 35 mm · Breite: 12 mm · Hersteller: swiing® ingenious parts · Material: Aluminium · Anwendungsbereich: Spezialwerkzeug · Anwendungsbereich: Werkstattzubehör · Oberfläche: eloxiert
11,60 EUR
Mofa-Fans kauften auch




